У цій статті ми розповімо про чергове можливе застосування апаратів вихрового шару і розглянемо виробництво смоляного клею, точніше його емульсії.
Смоляний клей — це продукт змішування синтетичних смол із затверджувачем. Він має хороші експлуатаційні властивості та завдяки своїм перевагам знаходить застосування у багатьох галузях промисловості.
Переваги смоляного клею
Смоляний клей має наступні переваги:
- після нанесення міцний зв’язок між склеюваними поверхнями утворюється дуже швидко;
- довговічність зв’язку склеєних поверхонь;
- відсутність усадки, незмінність при коливанні температури та вологості, нечутливість до впливу ультрафіолетового випромінювання;
- стійкість до впливу хімічних речовин.
Застосування смоляного клею
Високі експлуатаційні властивості смоляного клею визначили широту його застосування. Завдяки своїй високій водостійкості, на відміну від інших речовин аналогічного призначення, він може використовуватися навіть під водою. При цьому можуть склеюватися практично будь-які матеріали: пластик, скло, метали, камінь, кераміка тощо.
Конкретні сфери застосування смоляного клею:
- будівництво (склеювання будівельних матеріалів);
- морська промисловість (зв’язуюча речовина при будівництві човнів і дерев’яних суден);
- виробництво композитних матеріалів (склопластикові двері та панелі);
- авіаційна промисловість (з’єднання матеріалів вузлів секцій літаків);
- пакувальна промисловість (покриття для пакування харчових продуктів для захисту від впливу вологи і повітря);
- целюлозно-паперове виробництво (проклейка паперової маси) тощо.
Розглянемо детальніше виробництво смоляного клею для проклейки паперової маси.
Проклейка паперової маси
Проклейка паперової маси застосовується для того, щоб надати кінцевому продукту (паперу) властивості, якими володіє смоляний клей, а саме водостійкість і підвищену механічну міцність.
Для проклейки використовують каніфоль, але через її значну вартість і дефіцит доцільно застосовувати для проклейки таловий пек. Розглянемо спосіб інтенсифікації процесу омилення каніфолі (або талового пека) з одночасним отриманням стійкої емульсії при безперервному виробництві клею. Інтенсифікація процесу досягається шляхом обробки компонентів в апараті вихрового шару з пластинчастим вібратором.
Апарат вихрового шару (АВС) – це пристрій, в основі якого лежить принцип створення обертового електромагнітного поля за допомогою індуктора. Всередину індуктора поміщається робоча камера, виготовлена з немагнітного матеріалу. А в саму робочу камеру засипаються феромагнітні частинки з певним співвідношенням довжини і діаметра. Зовні ці частинки нагадують голки. Після появи обертового електромагнітного поля частинки починають рухатися по об’єму робочої камери і через постійно стикаються одна з одною і зі стінками робочої камери постійно змінюючи траєкторію свого руху. Так утворюється вихровий шар.
Якщо в робочу камеру АВС подати вихідні компоненти, вони будуть ретельно змішуватися як за рахунок обертового електромагнітного поля, так і змішувального впливу частинок, кожна з яких є, по суті, міні-мішалкою. Це забезпечує отримання стійких емульсій і суспензій. Крім того, у вихровому шарі присутні інші фактори і впливи, які дозволяють прискорювати протікання процесів у десятки й навіть сотні разів. Серед них:
- акустичні коливання, які породжуються магнітострикцією кожної феромагнітної частинки;
- кавітація (відбувається в рідких середовищах);
- високі локальні тиски;
- висока питома енергія вихрового шару та інші.
Виробництво смоляного клею за допомогою апарата вихрового шару
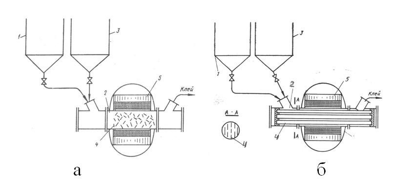
Установка для виробництва смоляного клею (рисунок 1) складається з реактора 1 для приготування розчину СаСО₃ при температурі 58-61°C, плавильника 3 для підігріву каніфолі (талового пека) до температури 71-78°C і подачі у робочу зону апарата АВС-100.
Рисунок 1 – Принципова схема отримання емульсії смоляного клею: а) АВС і б) електромагнітний апарат з пластинчастим вібратором: 1 – плавильник, 2 – робоча камера електромагнітного апарата, 3 – ємність для розчину СаСО₃, 4 – феромагнітні частинки, 5 – індуктор електромагнітного поля.
Випробування установки у промислових умовах показали, що варіння клею з використанням електромагнітних апаратів дозволяє отримати тонкодисперсну емульсію, наприклад, талового пека будь-якої концентрації. При цьому слід зазначити, що на ефективність емульгування пека значно впливає концентрація соди в розчині. Оптимальна концентрація становить 25-10 г/л. Отриманий клей легко розбавляється холодною водою до будь-якої концентрації. Якість крафт-паперу з використанням смоляного клею з талового пека відповідає вимогам стандарту.
Переваги апаратів вихрового шару у виробництві смоляного клею
- висока продуктивність (при отриманні емульсій продуктивність апарата АВС-150 становить 10 м³/год і більше);
- низьке питоме енергоспоживання за рахунок прискорення процесу і малого споживання потужності (апарат АВС-100 споживає 45 кВт потужності, а АВС-150 – 95 кВт);
- легкість монтажу і налаштування технологічної лінії (розміщення АВС не потребує спеціальних фундаментів);
- економія виробничої площі за рахунок компактних розмірів апарата;
- надійність роботи і довговічність (в апаратів немає динамічних ущільнень, а термін їх служби досягає десятків років).
Для отримання консультації щодо налаштування технологічної лінії з виробництва смоляного клею зв’яжіться з нашими технічними спеціалістами, скориставшись контактами з відповідного розділу сайту.


Апарат вихрового шару ...
Апарат Вихрового Шару ...
Апарат вихрового шару ...